![]() |
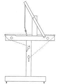
Moving the beams to the floor stand/ E This drawing shows how the warp should be connected to the beams in the floor stand.
|
|
|
E Remove the blocking bushes on the beams so that you can take them out. Replace the beams in the stand in reverse order. Then move the ratchets to the floor stand.
|
![]() |
E With the beams in the floor stand, a longer distance between the beams and the apron bars is needed. The drawing shows how to do this: using additional Texsolv cords as well as the included cords, arrange them as shown in the drawing to acheive the desired spacing.
|




Comments
0 comments
Please sign in to leave a comment.