|
Moving the beams to the floor stand/
NL Deze tekening laat zien hoe de schering aan de bomen in het onderstel bevestigd wordt.
|
|
|
|
NL Verwijder de boomkoorden Verwijder de blokkeerbusjes op de bomen, zodat je ze eruit kunt halen. Herplaats de bomen in het onderstel en zet ze weer vast met het blokkeerbusje. Verplaats daarna ook de pallen naar het onderstel. (op de foto wordt de doekboom verplaatst, maar de scheerboom werkt hetzelfde) |
|
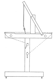
NL Met de bomen in het onderstel heb je een langere afstand nodig tussen de bomen en de aanbindlatten. De tekening toont hoe met de bijgevoegde koorden je de bestaande koorden kunt verlengen.
|
N.B. Bij de Klik en de Magic dobby zijn de bomen op een andere manier geplaatst. Om de boom te verplaatsen moet het palwiel losgeschroefd worden.
Opmerkingen
0 opmerkingen
U moet u aanmelden om een opmerking te plaatsen.