De Louet Hollandia, Spring en Delta zijn uitgerust met het unieke door Louet ontwikkelde parallelle contramarche systeem.
|
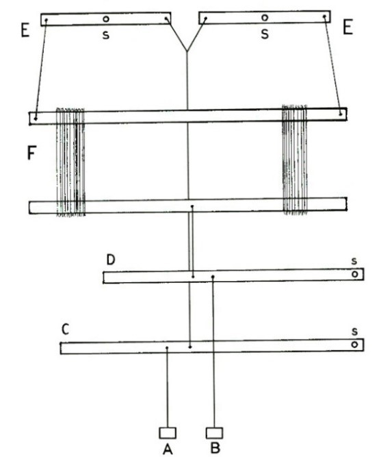
Werking van de traditionele contramars Op de tekening zijn S de scharnierpunten van de wipjes E en de schemels C en D. Wanneer trapper A wordt ingetrapt, beweegt schemel C naar beneden. Deze schemel is met een koord aan de wipjes E bevestigd, waardoor de wipjes om hun scharnierpunt kantelen en schacht F omhoog trekken. Wanneer trapper B wordt ingetrapt, wordt via schemel D de schacht naar beneden getrokken. |
|
|
Werking van de Louët parallel contramars Voor iedere schacht loopt er een koord over zes wieltjes. De einden van het koord zijn met elkaar verbonden, zodat het koord een gesloten circuit vormt. Wanneer trapper A wordt ingetrapt, beweegt schemel C het koord aan de buitenkant naar beneden. Het koord aan de binnenkant beweegt dan in tegengestelde richting en trekt schacht F omhoog (zie pijlen). Wanneer trapper B ingetrapt wordt, trekt schemel D de binnenkant van het koord en daarmee de schacht naar beneden. De parallel contramars heeft belangrijke voordelen ten opzichte van de traditionele contramars. Bij de gewone contramars zijn de schemels scharnierend in het getouw opgehangen, waardoor de beweging van de trappers en de kracht die voor de bediening nodig is, afhangt van de plaats waar de trapper aan de schemel is aangebonden. In de praktijk betekend dit dat alleen het middengedeelte van het getouw voor het plaatsen van trappers gebruikt kan worden. |
|
|
Een ander voordeel van de parallel contramars is dat de schemels tijdens hun beweging horizontaal blijven. Daardoor maakt het geen verschil waar de trapper aan de schemel is aangebonden en kan de hele breedte van het getouw voor trappers gebruikt worden. Zo kunnen er tot 14 trappers onder de spring gemonteerd worden. De schachten kunnen bij de parallel contramars niet scheef trekken. De hevels zijn onbelemmerd over de hele schacht te verschuiven. Door de verstelbare bevestiging aan het koord kunnen schachten en schemels exact op hoogte gesteld worden. Een nadeel van contramars is, dat er gemiddeld twee keer zoveel aanbindingen gemaakt moeten worden als bij getouwen met een eenzijdige sprong. Door toepassing van Texsolv koord is dit bezwaar bij Louët getouwen grotendeels ondervangen: De aanbindkoorden hebben een vaste lengte en kunnen eenvoudig aan de trappers gehaakt worden. |
|
Opmerkingen
0 opmerkingen
U moet u aanmelden om een opmerking te plaatsen.