Les Louet Hollandia, Spring et Delta sont équipés du système de contre-marche parallèle unique de Louet.
|
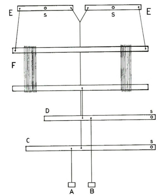
Comment fonctionne un système de contre-marche parallèle traditionnel Dans le diagramme, S représente les points de pivot marqués des leviers E et des lames C et D. Lorsque la pédale A est enfoncée, la lame C se déplace vers le bas. Cette lame est reliée aux leviers E par un cordon, ce qui fait basculer les leviers sur leurs points de pivot et tire l'arbre F vers le haut. Lorsque la pédale B est enfoncée, l'arbre est tiré vers le bas par la lame D.
|
|
|
Comment fonctionne un système de contre-marche parallèle Louet. Pour chaque arbre, un cordon passe sur six poulies. Les extrémités du cordon sont reliées entre elles, formant ainsi une boucle fermée. Lorsque la pédale A est enfoncée, la lame C déplace le cordon vers le bas sur le côté extérieur. Le cordon sur le côté intérieur se déplace alors dans la direction opposée et tire l'arbre F vers le haut (voir les flèches). Lorsque la pédale B est enfoncée, la lame D tire le côté intérieur du cordon, faisant ainsi descendre l'arbre. Le système de contre-marche parallèle offre des avantages importants par rapport au contre-marche traditionnel. Dans un contre-marche classique, les lames sont fixées au métier à tisser, de sorte que le mouvement des pédales et la force nécessaire pour leur fonctionnement dépendent de l’endroit où la pédale est attachée à la lame. En pratique, cela signifie que seule la partie centrale du métier peut être utilisée pour fixer les pédales.
|
|
|
Un autre avantage du système de contre-marche parallèle est que les lames restent horizontales pendant leur mouvement. Cela signifie qu'il n'importe pas où la pédale est fixée à la lame, et toute la largeur du métier à tisser peut être utilisée pour le pédalage. Par exemple, jusqu'à 14 pédales peuvent être montées sous le modèle Spring. Sur un contre-marche parallèle, les arbres ne peuvent pas se décaler. Les cadres peuvent être déplacés librement sur toute la longueur de l'arbre. Grâce à la fixation réglable du cordon, les arbres et les lames peuvent être ajustés à la hauteur exacte. Un inconvénient du système de contre-marche est qu'en comparaison avec un métier Jacquard, il faut en moyenne deux fois plus de connexions. La plus grande différence entre les connexions du système de contre-marche et celles du métier Jacquard est que dans un système de contre-marche, chaque arbre (avec la lame correspondante) doit être relié à chaque pédale. Ainsi, si vous avez un métier à tisser avec 8 arbres, une seule pédale aura 8 têtes de vis pour les connexions. À la fin, toutes les 8 têtes de vis doivent être reliées soit par un cordon de connexion long, soit par un cordon court. Recommandation pour connecter votre métier à tisser avec contre-marche parallèle – commencez par attacher tous les cordons courts. Lisez votre modèle – qui est probablement conçu pour un métier Jacquard – et attachez un cordon court à chaque arbre indiqué comme devant être relié, pour chaque pédale. Une fois tous les cordons courts fixés, revenez et attachez un cordon long à chaque vis restée libre. Exemple pour un tissage toile : Si vous souhaitez que les arbres 1, 3, 5, 7 soient sur la pédale 1, attachez les cordons courts aux positions 1, 3, 5, 7 de la pédale 1. Explication détaillée : Attacher la pédale 1 :
Attacher la pédale 2 :
Dernière étape :
|
Commentaires
0 commentaire
Vous devez vous connecter pour laisser un commentaire.