Die Louet Hollandia, Spring und Delta sind mit Louets einzigartigem Paralleles Countermarche-System ausgestattet.
|
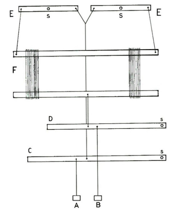
Wie ein traditionelles Paralleles Countermarche-System funktioniert In dem Diagramm sind S die markierten Drehpunkte der Hebel E und der Lappen C und D. Wenn das Pedal A gedrückt wird, bewegt sich der Lappen C nach unten. Dieser Lappen ist mit den Hebeln E über ein Seil verbunden, wodurch die Hebel an ihren Drehpunkten kippen und die Welle F nach oben ziehen. Wenn das Pedal B gedrückt wird, wird die Welle über den Lappen D nach unten gezogen.
|
|
|
Wie ein Louet Paralleles Countermarche-System funktioniert. Für jede Welle verläuft ein Seil über sechs Rollen. Die Enden des Seils sind miteinander verbunden, sodass das Seil eine geschlossene Schleife bildet. Wenn das Pedal A gedrückt wird, bewegt Lappen C das Seil nach unten auf der Außenseite. Das Seil auf der Innenseite bewegt sich dann in die entgegengesetzte Richtung und zieht die Welle F nach oben (siehe Pfeile). Wenn das Pedal B gedrückt wird, zieht Lappen D das Innenseite des Seils und damit die Welle nach unten. Das Parallele Countermarche-System bietet wichtige Vorteile gegenüber dem traditionellen Countermarche. Beim normalen Countermarche sind die Lappen am Webstuhl angeschlagen, sodass die Bewegung der Pedale und die für den Betrieb erforderliche Kraft davon abhängen, wo das Pedal am Lappen befestigt ist. In der Praxis bedeutet dies, dass nur der mittlere Teil des Webstuhls für die Befestigung der Pedale genutzt werden kann.
|
|
Ein weiterer Vorteil des Parallelen Countermarche-Systems ist, dass die Lappen während ihrer Bewegung horizontal bleiben. Dadurch spielt es keine Rolle, wo das Pedal am Lappen befestigt wird, und die gesamte Breite des Webstuhls kann zum Treten genutzt werden. Zum Beispiel können unter dem Spring bis zu 14 Pedale montiert werden. Auf einem Parallelen Countermarche können die Wellen nicht schräg werden. Die Schäfte können frei über die gesamte Welle bewegt werden. Durch die verstellbare Befestigung am Seil können die Schäfte und Lappen auf die exakte Höhe eingestellt werden. Ein Nachteil des Countermarche-Systems ist, dass im Vergleich zu einem Jacquard-Webstuhl durchschnittlich doppelt so viele Bindungen erforderlich sind.
Der größte Unterschied zwischen den Bindungen des Countermarche-Systems und des Jacquard-Webstuhls besteht darin, dass beim Countermarche jedes Schaft (mit dem entsprechenden Lappen) mit jedem Pedal verbunden werden muss. Wenn Sie also einen 8-Schäftigen Countermarche-Webstuhl haben, hat ein einzelnes Pedal 8 Schraubenköpfe für die Bindungen. Am Ende sollten alle 8 Schraubenköpfe entweder mit einem langen oder kurzen Bindungsseil verbunden sein.
Eine Empfehlung für das Binden auf Ihrem Parallelen Countermarche-Webstuhl – binden Sie zuerst alle kurzen Seile. Lesen Sie Ihr Muster – das wahrscheinlich für einen Jacquard-Webstuhl ausgelegt ist – und binden Sie ein kurzes Seil für alle Schäfte, die angegeben sind, dass sie gebunden werden müssen – für jedes Pedal. Wenn alle kurzen Seile verbunden sind, gehen Sie zurück und binden Sie ein langes Seil an jeden offenen Schraubenkopf.
Beispiel für Leinwandbindung:
Wenn Sie die Schäfte 1, 3, 5, 7 auf Pedal 1 haben möchten, binden Sie kurze Lappen-Seile an die Positionen 1, 3, 5, 7 auf Pedal 1.
Dann binden Sie kurze Lappen-Seile an die Positionen 2, 4, 6, 8 auf Pedal 2.
Zum Schluss binden Sie ein langes Lappen-Seil an 2, 4, 6, 8 auf Pedal 1 und an 1, 3, 5, 7 auf Pedal 2.
Detailliertere Erklärung:
Pedal 1 binden:
- Befestigen Sie ein kurzes Lappen-Seil an Lappen #1 direkt über Pedal 1. Verbinden Sie das Ende des Bindungsseils mit Schraubenkopf #1.
- Befestigen Sie ein kurzes Lappen-Seil an Lappen #3 direkt über Pedal 1. Verbinden Sie das Ende des Bindungsseils mit Schraubenkopf #3.
- Befestigen Sie ein kurzes Lappen-Seil an Lappen #5 direkt über Pedal 1. Verbinden Sie das Ende des Bindungsseils mit Schraubenkopf #5.
- Befestigen Sie ein kurzes Lappen-Seil an Lappen #7 direkt über Pedal 1. Verbinden Sie das Ende des Bindungsseils mit Schraubenkopf #7.
Pedal 2 binden:
- Befestigen Sie ein kurzes Lappen-Seil an Lappen #2 direkt über Pedal 2. Verbinden Sie das Ende des Bindungsseils mit Schraubenkopf #2.
- Befestigen Sie ein kurzes Lappen-Seil an Lappen #4 direkt über Pedal 2. Verbinden Sie das Ende des Bindungsseils mit Schraubenkopf #4.
- Befestigen Sie ein kurzes Lappen-Seil an Lappen #6 direkt über Pedal 2. Verbinden Sie das Ende des Bindungsseils mit Schraubenkopf #6.
- Befestigen Sie ein kurzes Lappen-Seil an Lappen #8 direkt über Pedal 2. Verbinden Sie das Ende des Bindungsseils mit Schraubenkopf #8.
Letzter Schritt:
-
Befestigen Sie ein langes Lappen-Seil an Lappen #2 direkt über Pedal 1. Verbinden Sie das Ende des Bindungsseils mit Schraubenkopf #2.
-
Befestigen Sie ein langes Lappen-Seil an Lappen #4 direkt über Pedal 1. Verbinden Sie das Ende des Bindungsseils mit Schraubenkopf #4.
-
Befestigen Sie ein langes Lappen-Seil an Lappen #6 direkt über Pedal 1. Verbinden Sie das Ende des Bindungsseils mit Schraubenkopf #6.
-
Befestigen Sie ein langes Lappen-Seil an Lappen #8 direkt über Pedal 1. Verbinden Sie das Ende des Bindungsseils mit Schraubenkopf #8.
-
Befestigen Sie ein langes Lappen-Seil an Lappen #1 direkt über Pedal 2. Verbinden Sie das Ende des Bindungsseils mit Schraubenkopf #1.
-
Befestigen Sie ein langes Lappen-Seil an Lappen #3 direkt über Pedal 2. Verbinden Sie das Ende des Bindungsseils mit Schraubenkopf #3.
-
Befestigen Sie ein langes Lappen-Seil an Lappen #5 direkt über Pedal 2. Verbinden Sie das Ende des Bindungsseils mit Schraubenkopf #5.
-
Befestigen Sie ein langes Lappen-Seil an Lappen #7 direkt über Pedal 2. Verbinden Sie das Ende des Bindungsseils mit Schraubenkopf #7.
Kommentare
0 Kommentare
Bitte melden Sie sich an, um einen Kommentar zu hinterlassen.